吉驰轮胎及法定代表人被限高
近日,安徽省蚌埠市怀远县人民法院,发布一份限制消费令。
涉案企业为当地知名轮胎制造商——安徽吉驰轮胎股份有限公司。
据了解,该案源于买卖合同纠纷,申请人为蚌埠菜易购商贸有限公司。
2025年7月2日,法院立案执行,但吉驰轮胎未履行给付义务。
根据规定,法院对该公司及相关人员,采取限制消费措施。
吉驰轮胎及其法定代表人严良伟,不得实施高消费行为。
公开资料显示,去年12月,吉驰轮胎高管发生重大变动。
严良伟成为公司新掌舵人,担任董事长兼法定代表人。
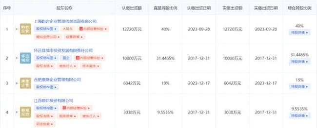
此外,其股权也发生变化,目前拥有4大股东。
其中,上海屿岩企业管理信息咨询有限公司,为大股东,持股40%;
怀远县城市投资发展有限责任公司为第二大股东,持股31.4465%;
合肥康捷企业管理有限公司,持股比例为19%。
江苏顺邦投资公司,持股比例为9.5535%。
(本文由轮胎世界网整理,转载请注明来源:轮胎世界网)
版权声明
凡注明“来源:轮胎世界网”的文字、图片和视频作品,版权均属轮胎世界网所有,任何媒体、网站或个人未经书面授权不得转载、链接、转帖或以其他方式使用;已经书面授权的,在使用时必须注明“来源:轮胎世界网”。违反上述声明者,本网站将追究其相关法律责任。
有关版权事宜请联系:13071111139 邮箱:fenglh@tireworld.com.cn


