吉驰轮胎49.553%股权中止拍卖
轮胎世界网近日获悉,安徽吉驰轮胎股份有限公司股权拍卖事项,已经中止。
中止原因,是案外人提出执行异议,需要等待异议审查。
据了解,吉驰轮胎49.553%股权,原计划于2026年1月12日拍卖。
这部分股权,由其股东江苏顺邦投资有限公司持有。
标的起拍价为1359万元,评估价高达1940.35万元。
轮胎世界网同时发现,吉驰轮胎的股权,于近日发生重大变动。
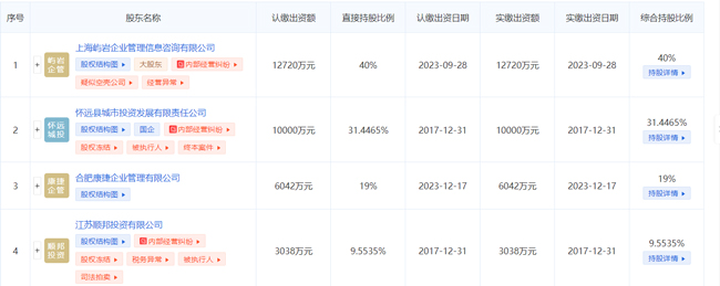
上海屿岩企业管理信息咨询有限公司,成为公司大股东,持股40%;
怀远县城市投资发展有限责任公司为第二大股东,持股31.4465%;
合肥康捷企业管理有限公司,持股比例为19%。
而原来要拍卖49.553%股权的江苏顺邦投资公司,持股比例已稀释至9.5535%。
值得一提的是,该公司4个股东中,有3个显示有风险。
前不久,吉驰轮胎的原高管团队,已全部被更换。
其中,严良伟出任董事长兼法定代表人;刘伟担任总经理兼董事。
(本文由轮胎世界网整理,转载请注明来源:轮胎世界网)
版权声明
凡注明“来源:轮胎世界网”的文字、图片和视频作品,版权均属轮胎世界网所有,任何媒体、网站或个人未经书面授权不得转载、链接、转帖或以其他方式使用;已经书面授权的,在使用时必须注明“来源:轮胎世界网”。违反上述声明者,本网站将追究其相关法律责任。
有关版权事宜请联系:13071111139 邮箱:fenglh@tireworld.com.cn


